• 
    • Español
Zhejiang Unite Motor Co., Ltd.Especialistas en Motores Eléctricos
  • Inicio
  • Productos
    • Conjunto de Eje Trasero
    • Reductor de engranajes
    • Controlador de Motor
    • Motores de Corriente Continua sin Escobillas
    • Motores de Imanes Permanentes, con Escobillas
    • Freno Electromagnético
    • Otros Productos
  • Aplicaciones
    • Patinetes Eléctricos, Cuatrimotos & Karts
    • Sillas de Ruedas y Scooters para Movilidad Reducida
    • Equipos de Manipulación de Materiales
    • Vehículos de Limpieza Urbana y Barredoras
    • Motocicletas Eléctricas
    • Triciclos Eléctricos y Triciclos de Carga
    • Carros de Golf & Mototaxis
    • Equipos y Máquinas para Deportes
  • Capacidades
  • Servicios
  • Nosotros
  • Novedades
  • Vídeo
  • CONTACTO
  • Inicio
  • Productos
  • Conjunto de Eje Trasero
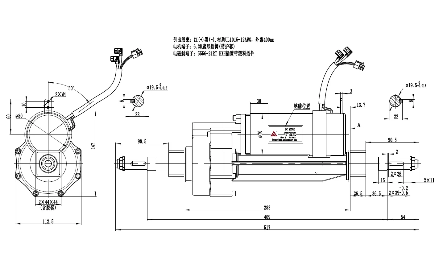
  • Sistema de ejes de transmisión trasera, Serie HQ068B1

Sistema de ejes de transmisión trasera, Serie HQ068B1

Sistema de ejes de transmisión trasera

Sistema de ejes de transmisión trasera, Serie HQ068B1
Sistema de ejes de transmisión trasera, Serie HQ068B1
Características

Ofrece gran capacidad de carga con un diseño compacto y portátil, lo que garantiza un rendimiento confiable y constante en la operación diaria.

Aplicaciones

Adecuado para una amplia gama de vehículos eléctricos de interior y exterior, incluidos scooters de movilidad motorizados, vehículos todo terreno eléctricos para niños y karts eléctricos para niños.

Consulta
Especificaciones técnicas
Modelo No. HQ068B1
Tamaño L1 (mm) 517
Tamaño L2 (mm) 409
Tipo de frenado Freno EM
Relación de transmisión adaptada 18:1
Motor adaptado Motor con escobillas ZD068B1/PMDC
Voltaje nominal (V) 24
Potencia nominal (W) 350
Par nominal (N.m) 1.08
Corriente nominal (A) ≤20.5
Corriente sin carga (A) ≤2
Revolución sin carga (RPM) 3900
Revolución nominal (RPM) 3100
Par máximo por reducción de la caja de cambios (N.m) 19.1
Eficiencia nominal (%) ≥72
Ciclo de trabajo (min.) S2-40
Clase de aislamiento F
Nivel de protección IP44
Observaciones El tamaño de L1 y L2 se puede personalizar según sus requisitos especiales.

    Nuestros Productos

  • Conjunto de Eje Trasero
  • Reductor de engranajes
  • Controlador de Motor
  • Motores de Corriente Continua sin Escobillas
  • Motores de Imanes Permanentes, con Escobillas
  • Freno Electromagnético
  • Otros Productos
Otros productos
Sistema de ejes de transmisión trasera, Serie HQ14Sistema de ejes de transmisión trasera, Serie HQ14
Sistema de ejes de transmisión trasera, Serie HQ14YSistema de ejes de transmisión trasera, Serie HQ14Y
Sistema de ejes de transmisión trasera, Serie HQ10Sistema de ejes de transmisión trasera, Serie HQ10
Sistema de ejes de transmisión trasera, Serie HQ12Sistema de ejes de transmisión trasera, Serie HQ12
Consulta
UNITE MOTOR se especializa en la investigación y desarrollo, fabricación y venta de motores eléctricos y sistemas de accionamiento de motores, entre nuestros productos principales tenemos motores de corriente continua de imán permanente con escobillas, motores de corriente continua sin escobillas (brushless), reductores, controladores de motores y otros productos relacionados con motores eléctricos.
Como fabricantes profesionales de motores, también podemos ofrecerles a nuestros clientes soluciones de motores personalizados para satisfacer sus necesidades y requisitos precisos de control de motores, logrando así una combinación óptima de eficiencia y costos asequibles. Nuestros motores y sistemas de accionamiento se utilizan en una amplia gama de industrias, incluyendo electrónica, fabricación de automóviles, equipos deportivos, transporte y automatización industrial. Con el apoyo de nuestro completo equipo de fabricación, un equipo técnico especializado y estricto control de calidad, podemos garantizar que cada motor que fabricamos sea de la mejor calidad posible. Gracias a nuestra vasta experiencia y sistema de fabricación avanzado nos hemos convertido socios de confianza en el suministro de motores industriales para clientes en diversas partes del mundo.
Productos
  • Conjunto de Eje Trasero
  • Reductor de engranajes
  • Controlador de Motor
  • Motores de Corriente Continua sin Escobillas
  • Motores de Imanes Permanentes, con Escobillas
  • Freno Electromagnético
  • Otros Productos
Aplicaciones
  • Sillas de Ruedas y Scooters para Movilidad Reducida
  • Equipos de Manipulación de Materiales
  • Carros de Golf & Mototaxis
  • Vehículos de Limpieza Urbana y Barredoras
  • Equipos y Máquinas para Deportes
Capacidades
  • Diseño & Desarrollo
  • Proceso de Fabricación
  • Control de Calidad
Contáctenos
Zhejiang Unite Motor Co., Ltd.
No.287 Lingshi Road, Chengxi Industrial Zone, Yongkang City, Zhejiang Province
info@unitemotor.com
wilsonhan2022@outlook.com
+86-13636372608
+86-579-87253211
Wilson Han
Revisión
Supported by ETW International Inc. USA